Quilla laríngea Montgomery®

Boston
Para la reparación de estenosis subglótica anterior (web), con o sin parálisis de cuerdas vocales

El uso de la quilla se puede hacer después de la reparación de la estenosis o después de la extracción del stent laríngeo Montgomery® para ayudar en la formación de una comisura anterior afilada.

La quilla también puede ser beneficiosa para prevenir la estenosis después de una hemilaringectomía.

La porción extralaríngea, cuando se asegura a las láminas tiroideas con una sutura en forma de ocho, cubre la reparación de la tirotomía con su paraguas.

Bien asegurada, la quilla evita la estenosis y la migración de tejido de granulación hacia la laringe.

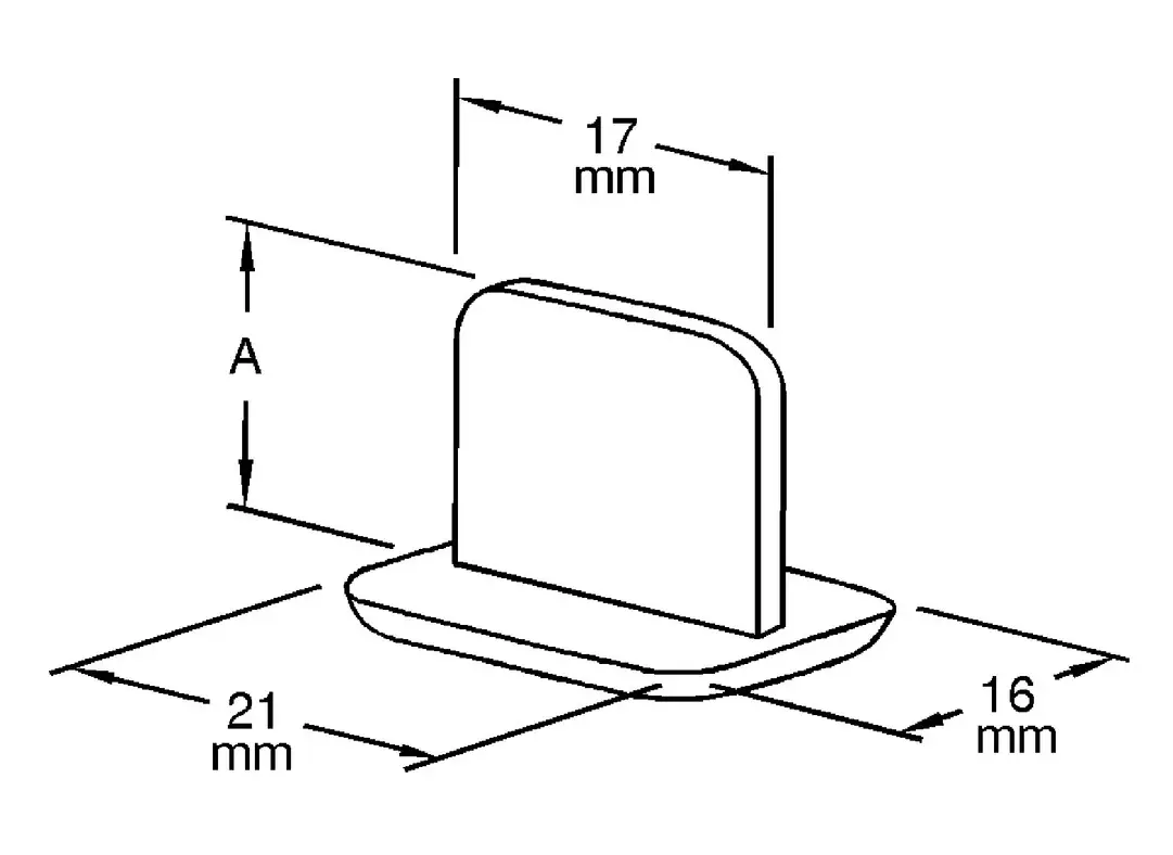
Tamaño REF Dimensiones (mm)
Transparente Radiopaco A
12 323040 323040R 12
14 323050 323050R 14
16 323060 323060R 16

Productos Relacionados
Serie 5200
Tubo en T tóracico Montgomery®
Boston
Set de cánulas iniciales Montgomery®
Boston
Tubo de traqueostomía Moore
Boston
Stent Rutter Supra-Stomal
Boston
Bypass Salival Montgomery®
Serie 4200
Tubo en T estándar Montgomery®
¿Desea comunicarse con un asesor comercial?
Comunícate con nostros para una mejor atención.
Nuestro equipo de atención al cliente responderá a sus preguntas sobre nuestros productos.