Tubo de traqueostomía con balón de baja presión

REF 470
Placa ajustable, aspiración subglótica, tira de contraste para rayos X, escalado y conector de 15 mm.

Envasado estéril

  • Obturador y cinta de la cánula
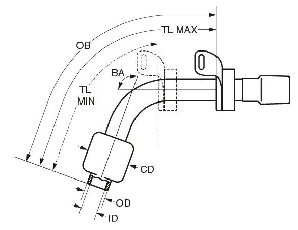
Tamaño No de pedido ID AD A C B TL
min-max
AB BW CD
mm mm mm mm mm mm mm  ø° mm
07 REF 470-07 7.0 9.7 33 32 15 53-68 86 100° 23
08 REF 470-08 8.0 11.2 35 35 20 64-84 97 100° 28
09 REF 470-09 9.0 12.3 38 35 27 66-93 106 100° 30
10 REF 470-10 10.0 13.7 38 37 35 63-98 120 100° 32

ID: diámetro interior (lumen) en el extremo inferior de la cánula
AD: diámetro externo de la cánula
A: Longitud
C: Longitud
B: Longitud
TL: Longitud sobre el arco central
AB: Longitud sobre el arco externo
BW: ángulo de giro
CD: diámetro del balón

Productos Relacionados
REF 461
Tubo de traqueostomía extra largo con placa ajustable y balón de baja presión
REF 523
Cánulas internas de repuesto fenestradas con conector 15 mm Tracoe twist plus
REF 422
TRACOE experc Set vario extract
REF 930-A
Kit de limpieza
REF 677
Gel lubricante
REF 905
Compresa traqueal aluminizada
¿Desea comunicarse con un asesor comercial?
Comunícate con nostros para una mejor atención.
Nuestro equipo de atención al cliente responderá a sus preguntas sobre nuestros productos.